본 포스팅에서는 화학적 특성화 시험 및 독성학적 위험 평가에 대해 5W1H를 바탕으로 설명드리고자 합니다.

화학적 특성화 시험 & 독성학적 위험 평가 가이드

ISO 10993-18 기반 | 5W1H (언제, 어디서, 누가, 어떻게, 왜, 무엇을)

와이즈컴퍼니는 화학적 특성화 시험 & 독성학적 위험 평가 분야에서 국내 최초이자 최다 수행한 압도적인 이력을 가지고 있으며, 수행된 시험 및 평가 보고서는 미국, 유럽, 국내 등 여러 규제기관에서 적절하게 사용되고 있습니다.

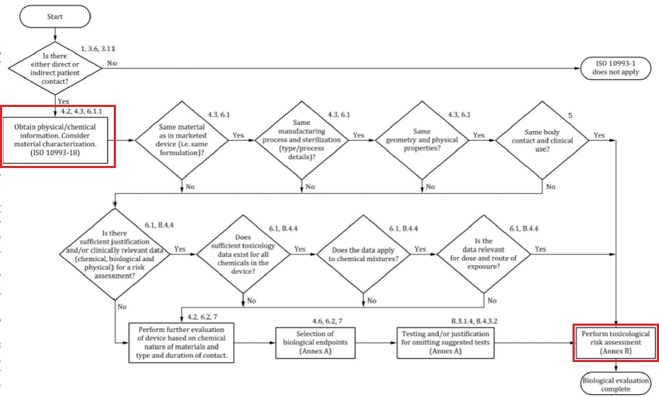
ISO 10993-1:2018 부속서 A와 Figure 1에서는 물리/화학적 정보가 필수적으로 요구됩니다. 이에, 규제 기관(예: Notified Body, FDA)에서는 ISO 10993-18에 따른 화학적 특성화 시험 자료와 독성학적 위험 평가 자료 제출을 점점 더 자주 요구하고 있습니다.

Figure 1, 생물학적 평가 접근 방식에 대한 개요

What : 화학적 특성화 시험이란 무엇인가?

화학적 특성화 시험이란 제품을 극성, 비극성, 반극성 용매에 추출한 뒤, 해당 물질을 화학적 분석하여 그 값이 AET 값(분석적 평가 기준 값) 혹은 정량화의 한계값(금속, 광물, 음이온 경우) 이하인지를 확인하는 시험입니다.

⚠️ 만약 기준 값을 넘는 물질이 발견되는 경우, ISO 10993-17 & ISO/TS 21726에 따른 독성학적 위험 평가가 요구됩니다.

Who : 화학적 특성화 시험은 누가 수행하나?

ISO 10993-1:2018에 따라 인체 직/간접 접촉하는 의료기기 혹은 의료기기 부속품을 제조하는 회사는 ISO 10993-18:2020에 따른 화학적 특성화 시험을 고려해야 합니다.

When : 화학적 특성화 시험은 언제 수행하나?

통상적으로 화학적 특성화 시험이 수행되는 경우는 아래와 같습니다.

시험 수행 시점

최초 생체적합성 시험 설계 단계

의료기기에 필요한 최초 생체적합성 시험을 설계하는 단계

물리/화학적 정보 필요 시

의료기기의 물리/화학적 정보가 필요한 경우

규제 기관의 독성학적 위험 평가 자료 요구 시

미국 FDA, 유럽 NB 등에 의해 독성학적 위험 평가 자료가 요구되는 경우

생물학적 안전성 위험 평가 자료 요구 시

규제 기관에 의해 생물학적 안전성 위험 평가 자료가 요구되는 경우

전신 독성 시험 면제 근거 필요 시

전신 독성(급성, 아급성, 아만성, 만성 독성) 시험의 면제 근거가 필요한 경우

💡 ISO 10993-1:2018 6.3.1항 참고

“용출을 일으키는 화학물질이 포함되어 있지 않거나, 화학물질의 독성이 무시할 수 있고, ISO 10993-18 및 ISO 14971에 따른 위험 평가에 의해 안전한 사용이 허용되는 경우, 전신 독성을 판단하는 생물학적 시험은 생략할 수 있다.”

Where : 화학적 특성화 시험은 어디서 수행하나?

화학적 특성화 시험은 ISO 10993-18 시험 규격에 대해 ISO 17025 인증 받은 시험기관에서 수행해야 합니다.

적격성 확인 방법: 시험소의 ISO 17025 인증서에서 10993-18 스콥이 있는지 여부를 통해 확인할 수 있습니다.

Why : 화학적 특성화 시험은 왜 수행하나?

ISO 10993-1:2018 개정에 따라 의료기기의 접촉시간과 관계없이 모든 직/간접 접촉되는 의료기기에 대해 물리/화학적 정보 제공이 요구되며, 생물학적 안전성은 화학적 특성화 시험 결과에 기반한 독성학적 위험을 고려해서 평가하도록 권장하고 있습니다.

ℹ️ 최근 규제 기관에서 10993-18에 따른 화학적 특성화 시험 자료와 독성학적 위험 평가 자료 혹은 독성학적 위험 평가가 포함된 생물학적 안전성 평가 자료를 요구하는 빈도가 늘어가고 있습니다.

How : 화학적 특성화 시험은 어떻게 수행하나?

화학적 특성화 시험은 아래 2가지를 준수하여 수행해야 합니다.

1. 권장 추출 조건 및 용매 선정

ISO 10993-18의 5.6항 및 Annex D 기반

의료기기 분류 권장 추출 조건 신뢰할 수 있는 대안
Limited contact devices Simulated use conditions Exaggerated conditions
Prolonged contact devices Exhaustive conditions Exaggerated conditions
Long-term contact devices Exhaustive conditions Exaggerated conditions

⚠️ 최소 2개의 상이한 극성의 추출 용매 사용이 요구됩니다.

미국 FDA에서는 세 가지 용매(극성, 비극성, 반극성 용매)를 사용하여 추출할 것을 요구합니다.

2. 유기물과 무기물 검증 분석 시험

아래 5가지 모든 유기물과 무기물을 검증할 수 있는 분석 시험을 수행해야 합니다.

구분 시험법 예시
1. 휘발성 유기화합물 가스 크로마토그래피 / 헤드스페이스-질량분석
2. 반휘발성 유기화합물 가스 크로마토그래피 / 질량분석
3. 비휘발성 유기화합물 액체 크로마토그래피 / 질량분석
4. 원자 광학적 발광 분광법
5. 음이온 및 양이온 이온 크로마토그래피